熱門資訊 / NEWS
- 12-16· 水泥井管模具的使用與保養
- 12-16· 懸輥機的工作原理及設計制造
- 12-16· 如何確定適用于懸輥機的混凝
- 02-25· 提高水泥電桿產品質量的措施
- 12-16· 重慶建成4300公里排水管網
- 10-23· 水泥管模具開、合模作業指導
推薦水泥制管機 / PRODUCTS
您當前位置:山東海煜重工有限公司 > 新聞中心 > 技術資料 >
技術資料
水泥制管機預制檢查井的幾種生產工藝
時間:2015-06-21 16:21 來源:qzhaiyu.com 作者:海煜重工 點擊: 次
|
一、簡述
檢查井是地下管道中的重要組成部分,對整條地下管線的功能發揮、維護保養、環境保護以及城市居民的生活質量保障起著重要作用。按鋪設的地下管線功能不同,檢查井可用在排水、排污、自來水、煤氣、熱力、電力、電信等管路系統中,應用非常廣泛。 按材質及施工情況,我國現大多采用粘土磚砌井、砌塊組合井、塑料井、混凝土現澆檢查井等。 在工程使用過程中,它們的主要缺陷為: 粘土磚砌井:由于粘土磚的使用造成大量農田流失,國家明文禁止;粘土磚強度低、整體檢查井的耐久性及抗壓性能差,易下沉,引起路面凹陷;砌筑工法難以解決滲漏問題,普遍引起土地二次污染。現場施工作業時間和養護時間長、勞動強度大。 砌塊組合井:砌塊及磚的強度提高,其它缺點與粘土磚砌井相似;為解決砌筑工法的滲漏,新的砌塊組合間現場加注細石混凝土或砂漿,但由于界面收縮,還是造成砌筑處的滲漏。 塑料井:雖然有輕質、施工作業時間短等優點,但抗壓性能差、與混凝土管道連接困難;產品造價高。 混凝土現澆檢查井:施工周期長、現澆質量不易控制、綜合成本高。 而與上述不同的工廠預制裝配式混凝土檢查井由于廠內規模生產,產品質量易控制、現場安裝時間短(一般安裝一套高度6m左右的井耗時2小時以內,約為磚砌井1/5用時)且不受現場天氣及施工條件影響,混凝土及整體檢查井的抗壓強度高、耐久性好、抗滲達標,綜合成本最低。體現出極大的優勢。 為配合環境治理,近年來各省市政府部門相繼出臺政策法規,禁用粘土磚砌井,推廣新型檢查井產品及施工方法;加之由“蘇州混凝土水泥制品研究院”負責制定的“預制裝配式鋼筋混凝土檢查井”行業標準(JC/T 2241-2014)于2015-4-1起正式實施。工廠預制裝配式混凝土檢查井在我國將得到前所未有的重視及普遍應用。 工廠預制混凝土檢查井的成型方式主要為澆注及振動成型工藝,為克服現有成型方法的主要缺陷,由“蘇州科星混凝土水泥制品裝備公司”研制開發的“高頻振動成型、垂直翻轉一體脫模管井生產工藝及裝備”(生產工藝方法及裝備專利)中試成功,投入使用情況良好(圖1)。 ![]() 圖1
二、現有工廠預制裝配式混凝土檢查井的生產工藝方法分析
1.澆注成型或加輔助振動的澆注成型工藝 澆注成型工藝的優點為成型工藝簡單、產品形狀規格大小可按模具任意成型、小批量生產靈活、產品外觀光滑。但相對立即脫模的高頻振動成型工藝方式,缺點為規模生產時模具投入大、產能小、工人勞動強度大,原輔材料、人工及其它生產成本高。 混凝土檢查井型號規格繁多,同時每套檢查井由不同的部件組成。以輸水檢查井為例,一套完整的預制裝配式混凝土檢查井由井室(檢查井主體,接排水管的受水部分)、井室頂板(井室與井筒間的過渡及收口)、井筒(控制檢查井高度及豎向通道,一般不過水)、收口板或收口圈(檢查井與井蓋間收口)、調節圈(微調檢查井高度)等組成(圖2)。《預制混凝土檢查井》行業標準(JC/T2241-2014)中光井室平面尺寸規格品種就有21種之多,每種規格品種配上2-3種高度,設計部門有50多種井室的選擇余地。 ![]() 圖2
澆注成型采用塑性混凝土,一般檢查井井室成型多為帶底一體、2-4個接管開孔,達到脫模強度的養護時間較普通排水管更長,采用蒸汽養護約5-6小時,如果每班生產15--20個單規格井室(按立即脫模成型每班生產量),相比振動成型立即脫模(自然養護)模具用量為,(9-13套模具):(1套模具+15-20個底托)。澆注成型工藝的模具費用是一筆巨大的支出,此情況較排水管生產懸輥工藝同芯模振動工藝所用模具數量及總體費用相比更嚴重。
由于澆注成型工藝生產成本高、達標產能模具用量及費用巨大等原因,一般不用該工藝方式生產常規的批量預制混凝土檢查井。 2.離心或懸輥成型工藝 排水管生產企業利用原有的水泥管模具,成型檢查井的井筒部分,是一種經濟有效的方法。但井室采用二次成型拼裝會影響產品質量,井室帶孔,離心或懸輥成型時轉速不到位或跳模,成品不密實且易發安全事故;如筒身與底板間灌入細石混凝土或砂漿,則由于二者界面收縮不一,產生裂縫;(圖3)如筒身與底板間采用膠圈、柔性企口,加以筒、底間預埋張緊連接,產品成本增加。(圖4) ![]() 圖3 ![]() 圖4
3.芯模振動成型工藝
芯模振動成型工藝采用干法生產,芯模高頻整體振動使混凝土液化密實,同時使水泥有一定的活化以提高混凝土強度,混凝土密實度很高,可以立即脫模,大量減少了成型模具數量及總體費用,與濕法工藝相比,可減少原材料的成本和降低人工費用等。 介紹一種典型的芯模振動生產檢查井井室工藝步驟:1.模具在坑內就位;2.內外模間放置排水管孔預埋件、內模頂部放置混凝土托板;3.混凝土布料、振動成型;4.混凝土超過托板并達到井室底厚度時,碾壓;5.放置井室底板并與內模頂部的托板及外模連接;6.成品及外模(含底板及混凝土托板)提出工作坑;7.吊入養護位置,下置養護支撐,脫外模及井室底板;8.養護;9.翻轉并脫去混凝土托板及排水管孔預埋件;10.補井室底板與混凝土托板間工作孔;11.至成品堆場。 工藝如圖所示: ![]()
芯模振動生產檢查井井室的工藝缺陷:1.由于芯模振動成型原理方式為激振力橫向傳遞、沿法線方向激振力衰減,在生產井室時底部朝上,井室底部成型須輔以較大的碾壓力,井室底部密實度不夠;2.養護時井室底部朝上,整體重心偏上,結構不穩,養護支撐高度不易控制,會造成井室底部頂起或輕微坍塌,產生底部裂紋;一般大口徑的帶底整體井室不用此工藝成型;3.為達到立即脫模養護,工藝步驟過多,養護支撐、混凝土托板等模具組件用量也較多;4.養護后的補孔(井室底板與混凝土托板間工作孔)費工費料(一般用摻入樹脂的水泥凈漿調配)。
為克服養護時井室底部朝上、整體重心偏上、結構不穩的問題,“科星裝備”曾開發了專用的翻轉設備,脫離工作坑后立即1800翻轉,使井室底部在下,然后脫去外模。但使用過程并不理想,原因是翻轉時管道內壁沒有支撐,及易造成管壁坍塌,特別是中大口徑井室及方形井室。 為減少養護支撐、混凝土托板等模具組件用量過多的問題,國外早期的方法是在內模頂上放置一塊塑膠或與混凝土連接性能稍好點的石棉板,使成型后利用井室部分壁厚支撐此板及板上的井室底部混凝土重量,使之不塌陷。但此方法會一定程度破壞井室整體結構,板材與混凝土間人為建立誘導縫;配合此脫模養護方法,需井室壁厚尺寸加大,混凝土密實度需充分保證以防止下沉。(圖5) ![]() 圖5
跟據上述情況,芯模振動成型工藝適合生產圓形中小口徑井室和各規格井筒,具有生產效率高、產品質量好以及干法生產的其它優勢。
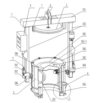
三、高頻振動成型、垂直翻轉、一體脫模管井成型工藝及裝備 為克服以上幾種管井成型工藝的缺點,一種“高頻振動成型、垂直翻轉、內外一體立即脫模的管井生產工藝”由“蘇州科星混凝土裝備公司”提出設想,并研發了相應的工藝裝備(圖6、圖7),對此生產工藝及裝備進行了中試驗證,生產的連底¢1000-2000檢查井井室及¢1000-1500檢查井井筒混凝土密實度好、生產效率高、工藝方法簡捷、裝備造價低、生產適應性強(可成型¢1000-2000范圍內的檢查井井室、井筒、排水管) ![]() 圖6 ![]() 圖7
成型工藝特點: 1.采用高頻振動方式使注入模具內的混凝土密實成型,并能實現立即脫模;2.振動成型時混凝土制品底朝上、口朝下,有效克服了干硬性混凝土流動度差的問題;3.成型后連模帶井室制品180°翻轉,然后脫模,制品養護時結構穩定,產品質量好;4.內外一體脫模,可防止翻轉時的混凝土垮塌和單獨外模脫模時偏置引起的打口。
工藝步驟:1.成型模具內放置排水管孔預埋件;2.吊至模具在工作坑內或地面就位;3.混凝土布料、高頻振動成型;4.混凝土達到井室底厚度時,放置井室底板并與模具連接;5.成品及模具提起180°翻轉;6.脫模;7.養護;8.脫去排水管孔預埋件;9.至成品堆場。 工藝流程圖: ![]()
裝備特點:整套設備由混凝土布料機;可180°翻轉吊運機構、工作液壓站、電控變頻組合;結構支撐架;內置振動單元的一體模具等組成。
為保證混凝土成品的振動密實,模具內置振動單元間的相位、激振力隨混凝土布料情況可調,有效避免相互干擾,激振頻率(以轉速指標體現)達6000轉/分; 為保證井室底部的混凝土密實,設置頂端輔助高頻振動單元。 設備完全達到工藝設想要求,主機設備造價約為芯模振動主機的1/3左右。成品見圖8。 該設備可應用于其它市政混凝土構件的生產,增加高頻振動單元及碾壓裝置后,可擴展生產3000口徑排水管,達到一機多用的功效。 ![]() 圖8
四、結語
總結常用的預制混凝土檢查井生產成型工藝方法,主要指標: ![]()
“高頻振動成型、垂直翻轉一體脫模管井生產工藝及裝備”的開發成功,提供了一種混凝土檢查井的高效生產方式,并由于能兼做管道及其它市政構件,設備造價相對低廉,性價比高,固定移動均可。通過不斷的完善,將成為混凝土構件的有效成型方式之一,對專業生產預制混凝土檢查井新增項目,以及小型排水管企業為提高自動化程度、擴大產能的改造,管、井兼容生產是一種經濟高效的選擇。
|



300-600×3000離心式水泥制
300-600×2000離心式水泥制
500-1000×3000懸輥式水泥制
1200-1800×2000水泥管成型
300-600×4000水泥管離心成
1500-2000×2000懸輥機









