熱門資訊 / NEWS
- 10-23· 水泥管模具開、合模作業指導
- 12-16· 重慶建成4300公里排水管網
- 12-16· 懸輥機的工作原理及設計制造
- 02-25· 提高水泥電桿產品質量的措施
- 12-16· 水泥井管模具的使用與保養
- 12-16· 如何確定適用于懸輥機的混凝
推薦水泥制管機 / PRODUCTS
您當前位置:山東海煜重工有限公司 > 新聞中心 > 技術資料 >
技術資料
降低水泥制管設備噪聲污染的實例分析
時間:2015-05-20 16:20 來源:qzhaiyu.com 作者:海煜重工 點擊: 次
|
水泥制管機噪聲治理難度較大,起步較晚,在噪聲治理中要考慮投資省、上馬快、操作方便和經久耐用等因素。
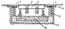
振動臺是水泥制管成型工藝中用得比較多的設備之一,我們于今年開始對臺面尺寸為1.5×5m、振動頻率為2860r/min、凈載重為3t的振動臺開展噪聲治理技術的研究。3年來經治理的振動臺成型水泥管20多萬根,合格率達99.4%。經技術鑒定,認為該項技術處于國內先進水平,簡易有效,具有較好的社會效益和經濟效益,建議積極組織推廣。此后,又在5個生產單位得到應用。 一、振動臺結構 為滿足振動密實的要求,保證振動臺振幅的均勻性,要求振動臺框架有足夠的剛度;在給定頻率下框架上不得出現振幅為零的區域;偏心塊的回轉軸線同振動臺整個體系的重心相重合。與此同時,要降低自身產生的噪聲。具體措施有: 1. 加大振動臺框架的自振頻率,提高振幅均勻性,消除共振噪聲。本研究結果是框架自振頻率比強迫振動頻率大1倍以上。 2. 減振吸振。多數振動臺靠鋼彈簧減振,其發聲大,我們選用中硬度橡膠,它既能減振又能吸振。即當橡膠壓縮時,它能隨時將振動能量貯存起來,而后又較“緩慢”地釋放出來,起著緩沖和調整振幅的作用。 3. 振動臺重心位置設計 3.1 模具與振動臺的系統的重心要與框架重心接近。為方便加工制作與噪聲治理,我們選用附著式振動器為激振源,它的轉子被封閉在機殼內,對空氣不產生受迫振動。幾臺附著式振動器的布置,應使其回轉軸線同整體重心接近,最好重合。 3.2 降低振動臺重心位置。目的在于避免產生振動框架的紊亂“搖動”或其它不穩定現象。“搖動”會造成混凝土料漿與模具在振動臺上的跳動,這不但會降低混凝土的密實效果,而且增大因模具對臺面撞擊而發出的噪聲。 二、粘滯阻尼處理 振動器對臺面和框架的激振以及成型時模具對振動臺的撞擊,均會產生諧振波,從而發出不同頻率的聲音。因鋼材本身所具有的內阻尼作用很小,聲音大部分輻射出來,我們就增加“外部阻尼”措施以減小諧振。 外部阻尼方式很多,結合本振動臺特點,在其背面各部位,采用層狀阻尼結構,即作單層粘滯阻尼處理,取得良好降噪效果,且采用的阻尼材料低廉易得,涂布工藝簡便。 三、隔聲、吸聲處理 為治理噪聲與便于振動成型,將振動臺置于地面以下,借助坑壁與蓋板,使下部振動噪聲被抑制于“隔聲間”內,蓋板的材料及其結構應具有好的的隔聲、吸聲效果(見圖1)。 ![]() 圖1 隔聲和吸聲處理示意圖 1. 隔聲蓋板;2. 吸聲毯;3. 振動臺框架;4. 吸聲材料;5. 坑壁;6. 共振消聲箱;7. 浮隔墊層;8. 浮隔基礎;
此外,在振動臺周圍設吸聲屏障,以吸收入射的聲能,我們采取兩項措施:
1. 吸聲掛毯 將一定厚度玻璃棉胎懸掛在“隔聲間”內,做成吸聲毯。試驗表明,它對高頻聲能吸收效果甚佳,其吸聲性能列于表1。我們采用共振吸聲法(用穿孔板共振吸聲原理),效果很好。當聲波傳至共振結構時,小孔頸中的氣體在聲波的壓力作用下,象活塞一樣地往返運動,抗拒由聲波作用而引起的運動速度的變化;同時聲波進入小孔頸時,由于頸壁的摩擦和阻尼,使一部分聲能轉變為熱能而消耗掉,一旦這個共振器的固有振動頻率與外來聲波頻率相同時即發生共振,此時,形成的空氣“柱”往返于孔頸中的速度也最大,磨擦阻尼損失就大,降低噪聲效果也就好。
表1 玻璃棉胎吸聲性能
2. 隔振措施 振動員噪聲除了通過空氣傳播外,也能通過墻和基礎傳播,我們采用二次隔振措施:1. 振動臺框架與底座基礎間采用中等硬度橡膠作隔振器;2. 底座基礎與坑底地面采用“浮隔”法處理(見圖2)。 ![]() 圖2 混合隔振系統示意圖 1. 振動臺框架;2. 隔振材料;3. 附加重量(活動基礎塊);4. 松散緩沖隔離層(砂+木屑);
常用的隔振材料有金屬彈簧(螺旋壓縮彈簧)和橡膠兩種。金屬彈簧阻尼效果差,易傳遞高頻率聲音。橡膠的阻尼效果好,振動傳遞率K值為0.127。試驗測定與計算表明,通過第1次隔振后,已有87.3%的振動被隔離,余下的振動通過“浮隔”處理進行消振。即在底座基礎與坑底地面之間填以一定厚度砂墊層,基礎與坑壁留30~50cm“隔離溝”,并填以“砂+木屑”混合物。
四、振動噪聲的測試 為了了解振動噪聲治理效果,我們對幾種振動臺的振動噪聲,用精密聲級計,在距振動臺1m處進行測試。結果如下: 1. 經噪聲治理的振動臺無論是空載還是滿載,其產生的噪聲均系具有連續頻譜的寬頻帶噪聲,呈中低頻性。峰值出現在63Hz;在滿載3t時,在250Hz處出現峰值。空載時總聲壓級為92~94分貝,滿載時總聲壓級為93~97分貝。 2. 經噪聲治理和未經噪聲治理的同一類型的振動臺在滿載3t時所產生的噪聲,未經噪聲治理的1號、2號振動臺總聲壓級分別達110分貝和113分貝。它們的振動噪聲比經治理的振動臺高出13~20分貝。 除以上幾項試驗外,我們還進行加隔聲罩和鋼模與振動臺相對固定的試驗。前者總聲壓級僅降低2分貝,操作不便;后者總聲壓級約降低4分貝,但用4只螺栓卡緊的固定方法也很不方便。所以,在生產中都沒有采用。 本技術在水泥制品工業噪聲治理中收到較好的技術經濟效果,但對如何減少水泥塊等雜物進入“隔聲間”和使模具固定簡便有效等問題尚需深入研究,加以解決,以期進一步提高噪聲治理效果,進而開展離心工藝噪聲治理技術的研究。 |



300-600×3000離心式水泥制
300-600×2000離心式水泥制
1200-1800×2000水泥管成型
300-600×4000水泥管離心成
500-1000×3000懸輥式水泥制
1500-2000×2000懸輥機
