熱門資訊 / NEWS
- 12-16· 如何確定適用于懸輥機的混凝
- 12-16· 水泥井管模具的使用與保養
- 12-16· 懸輥機的工作原理及設計制造
- 02-25· 提高水泥電桿產品質量的措施
- 12-16· 重慶建成4300公里排水管網
- 10-23· 水泥管模具開、合模作業指導
推薦水泥制管機 / PRODUCTS
您當前位置:山東海煜重工有限公司 > 新聞中心 > 技術資料 >
技術資料
水泥制管機生產半圓形水泥管的工藝流程
時間:2015-03-07 17:45 來源:qzhaiyu.com 作者:海煜重工 點擊: 次
|
中國水電工程局曾在國外接到一批半圓形水泥管的生產任務,內徑為350~1550mm、壁厚40~70mm、長度為7米,共11個規格的水泥管。經了解,我國建材機械行業和水泥制品行業尚無類似產品和設備,一般都為圓管,且長度在5m以下,對于7m長半圓形預應力水泥管沒有相應的技術標準和經驗可借鑒。研發小組根據國內圓管生產設備制作標準,在實踐中不斷摸索、不斷改進,經過歷時8個多月上百次的技術攻關和試驗,最終成功研制出此產品的生產成型機,并摸索出一套生產工藝,其技術指標和性能完全滿足生產要求。
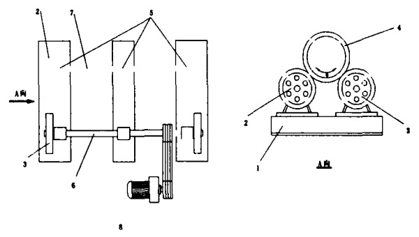
一、半圓形水泥管成型機的研制 1.1 生產工藝原理 與普通離心水泥制品成型的不同點就是在離心過程中增加了振動環節。按照約定,產品必須滿足一定的抗滲要求,而普通離心工藝無法滿足該水泥管混凝土的密實度要求。因此,研制時在離心過程中增加了振動工序,對正在高速旋轉的水泥管模具及模具內混凝土施加高頻振動,使混合料中的碎石、砂、水泥和水得到一定的合理分布,提高混凝土的密實度。振動裝置是在水泥制管機一側安裝四個帶有刻槽的油壓振動輪,分布于水泥管的兩端和中間部位,在液壓油缸的推動下與水泥管模具跑輪接觸產生振動力,實現離心振動。同時振動時四個振動輪可同時開啟也可分別振動,在分料時隨著布料進度而分別開啟相應位置的振動輪,中速振動時,可全部開啟振動;并可根據管徑的大小,采取不同的振動時間。振動時間通過操作控制臺來實施控制。 1.2 半圓形水泥管成型機的主要設備 半圓形預應力水泥管成型機包括以下幾個部分:①高頻振動離心機;②水泥管模具;③鋼筋加工設備;④混凝土攪拌站;⑤混凝土布料機;⑥蒸汽養護系統。 1.2.1 離心系統 離心系統包括離心電機、托輪及托架兩個部分。離心機采用的支承方法為托輪式,依靠磨擦力帶動模具跑輪旋轉。振動系統包括托架、液壓油缸、振動輪幾個部分(附圖)。 ![]() 附圖 雙托輪式離心機組型式 1、底座;2、被動托輪;3、主動托輪;4、鋼模板;5、軸承座;6、主動軸;7、被動軸;8、調速電機; 1.2.2 離心振動工藝中的離心速度 在振動離心成型中,所要控制的工藝技術參數主要是離心速度與離心時間的問題。包括低速振動布料、中速振動成型和高速離心密實排漿3個工序。對應的離心速度分為低速、中速、高速,3個階段應計算出相應的轉速和控制時間。 低速布料時,水泥管模具轉動速度控制在120r/min左右,對應的電機轉速為150r/min。布料時間隨水泥管型號不同所需混凝土量而變化,一般控制在5~20min。采用低速布料是易于觀察縱向及四周方向布料的均勻程度,達到初步成型的目的。 中速離心成型與振動時的水泥管模具轉速一般控制在250~350r/min,不同型號的水泥管通過控制模具的線速度來實現混凝土相應的離心力和振動力。此階段的時間控制在1~4min。采用振動布料方法,可加快布料速度,同時解決布料不均勻的缺陷。 高速離心轉速一般控制在520r/min,對應的電機轉速為650r/min。此階段的時間為5~15min。高速離心的目的是為了達到密實、排漿,析出多余流離水和增加內壁光潔度的目的。 研制完成后的振動離心機主要技術參數見表1。
表1 離心機主要技術參數
1.2.3 水泥管模具設計與制作 水泥管模具由筒體、跑輪、筋板、企口板、隔板及合模螺栓等部件組成。為滿足半圓形水泥管的外形尺寸,設計時在圓形模具兩半圓的合模處增設隔板。隔板要求通長平直、離心時不變形。研究小組將隔板與模具的環形肋設計成為一體,解決了隔板的剛度問題。合模時用合模螺栓固定在一起,使同一模具內同時生產兩根同規格半圓形水泥管產品。 水泥管模具的加工即要保證模具準確的外形尺寸,又要保證高頻振動條件下模具的強度和剛度,確保模具的同心度,保證長期的動負荷作用下不發生變形;同時還要求表面光潔,以減少脫模阻力。模具采用Q235A鋼板(厚度8mm)焊接回火而成的圓形鋼模板,應符合JC613《混凝土和鋼筋混凝土排水管鋼模》標準要求,主要技術參數如表2。
表2 圓形水泥管模具技術參數
水泥管模具還需配備相應的附屬設備。主要配套的機械設備有起重機、漲拉機等。起重機型號可根據水泥管的重量和起吊高度及作業空間(橫向距離)來確定。漲拉機包括液壓漲拉千斤頂、電動油泵、外接油管和測力儀表。型號可根據所需漲拉力和鋼絲型號來確定。在本工程中,漲拉機油泵型號為ZB4-500,鋼絲拉伸機為YB-50。 1.2.4 喂料系統 喂料系統由行走電機、儲料倉、喂料小車、喂料臂、輸送皮帶及托架和行走軌道組成。喂料機的工作程序是首先將混凝土攪拌站生產線傳送來的混合料暫存于喂料機的儲料倉料斗內,當離心機帶模具啟動后,料斗內的螺旋輸送裝置開始運行,并均勻地向模具內喂料。為滿足喂料的足量和均勻性要求,喂料機必須邊喂料邊行走,并能自動控制行走平穩,皮帶運行速度均勻。根據多次試驗、調整、皮帶傳送速度定為1.25m/s。為保證混凝土從料半順利進入喂料臂,料半上帶有0.8kw附著式振動器,使混凝土能連續均勻到達指定的模具位置。 喂料小車是喂料機的主要部件,小車由調速電機驅動、沿專用輕軌行走。安裝在喂料小車上的喂料懸臂長8m,安裝有傳送皮帶,對小車產生一定的前傾彎力,為保證喂料時喂料臂平直、順暢作業,在喂料小車上設計了配重,同時將喂料臂按使用載重量設計成斜坡形,保證了喂料臂的平直度。根據多次試驗、調整,皮帶傳送速度定為1.25m/s。 喂料機主要技術參數見表3。
表3 喂料機技術參數
二、半圓形水泥管的生產工藝流程 半圓形預應力水泥管生產工藝主要包括:模具清理與隔離劑涂刷、鋼筋制作、綁扎、鋼筋網架安裝及合模、預應力筋漲拉、原材料清洗及混凝土生產、低速轉動布料、中速離心成型、中速振動密實與高速離心成型、蒸汽養護、拆模擺放等。 2.1 鋼筋綁扎與漲拉 鋼筋骨架可以用手工捆扎。鋼筋骨架要有足夠的剛度,接點牢固,不塌不松動,無明顯的扭曲和大小頭現象,在運輸骨架,裝模及成型水泥管時能夠保證其整體性,環向分布筋位置偏差±5mm,(連續10環平均值)。采用20~22號鍍鋅鐵絲捆扎,所有環向筋與縱向筋交叉點均應捆扎牢固,沿縱向筋長度排列的綁扎應是正反向交叉形成。 預應力鋼筋漲拉是鋼筋加工系統的關鍵,研制中對漲拉錨具、擴口段預應力筋的定位等問題作了深入分析,采用預應力筋筋鍛頭固定、油壓漲拉機單根對稱漲拉、螺桿螺帽錨固等方式。預應力筋墩頭必須完整,鋼筋墩頭強度不得低于鋼筋標準強度的90%。其次,水泥管模具必須清理干凈,剔除殘存水泥漿渣;選用油脂、乳化油脂、松香皂類等隔離劑。漲拉所用的各種機具和儀表,應事先維護和校驗。漲拉時,為減少預應力損失,采用超漲拉方式,漲拉后,螺帽與螺母之間應緊固不松動,保證與混凝土黏結牢固,便于漲拉螺栓拆卸。 2.2 混凝土生產 離心混凝土的配合比設計按JGJ55《普通砼配合比設計標準》規定進行,水泥管構件設計強度不得低于C40,出廠強度不得低于設計強度的80%。 由于離心振動工藝的要求,砂率要高,否則混凝土的和易性達不到要求,影響布料和成型質量。砂率一般掌握在0.4左右。水泥量滿足強度的需要,如果要求混凝土強度達到40MPa,一般水泥量在450kg/m3以上。水灰比一般在0.3左右,隨著水泥管壁厚度的增加,所用混凝土的水灰比應相應減小。 因水泥管各種規格的管壁厚度不同,拌制混凝土中用水量也會不同。為了得到性能良好的混凝土,提高混凝土的各種性能,縮短混凝土的蒸養時間,經過大量的試驗、改進,最終確定了各種型號水泥管的混凝土配合比差異如表4。
表4 混凝土配合比
2.3 蒸汽養護與拆模 水泥管成型后進入蒸汽養護環節。常溫濕熱養護方式采用燃油鍋爐產生的常壓水蒸汽在蒸養池內進行。首先將成型的水泥管模具放入蒸養池,進行溫室養護(稱靜停期),靜養約60min。第二進行蒸汽養護(稱為升溫期),升溫期取決于混凝土的允許升溫速度及最高養護溫度。升溫速度必須控制在20℃~25℃/h,防止升溫過快造成混凝土干裂。第三用150min左右時間逐步升溫到80℃~90℃,再恒溫保持6h結束(稱恒溫期),大直徑水泥管由于混凝土厚度大,蒸養時間要相應增加。第四蒸養結束后,恒溫溫度降到室溫溫度(稱為降溫期),降溫速度為35℃~50℃/h。對于冬季,還要增加60min的降溫,以防止溫度驟降造成模具收縮過快難以拆卸。 拆模前,將模具從蒸養池內取出,放到固定支架上,首先拆卸兩端漲拉螺栓,對預應力筋進行對稱放張,然后再拆卸合口螺栓和跑輪螺栓。拆卸時,先將上片模吊走放到固定支架上,進行清理。再用行車吊起一側慢慢豎起,將模具倒扣到預先放置好的廢輪胎上(防止磕碰),用木榔頭敲擊模具將水泥管振下來。最后將水泥管兩端的漲拉孔用水泥砂漿堵死,防止銹蝕。 三、研發試驗中解決的主要技術問題 3.1 課題研究的主要技術難點 3.1.1 課題研制生產的水泥管單節長度比國內普遍生產(一般為5m)的長2m,每節總長7.17m,水泥管內部的骨架筋和預應力筋規格形狀及受力情況都與國內常規生產的不同,無法借鑒國內的技術標準和經驗。 3.1.2 研制的水泥管抗滲性和內壁光潔度要求較高,一般離心機無法滿足該水泥管的密實度和光潔度要求,因此研制時增加了振動這一工藝環節。 3.1.3 課題研究制造的生產設備的生產工藝中增加了振動離心和高速離心兩個工藝環節。振動離心過程是為了使混凝土振動密實、達到分布均勻,避免混凝土分層和不均勻分布,從而達到混凝土的密實度要求。 3.1.4 課題研究在預制生產工序中采用了運動式布料,即在水泥管模具轉動時,喂料機沿模具長度方向移動的同時進行混凝土布料,達到布料均勻的效果。 3.2 專用設備的運轉性能 3.2.1 離心機組 通過水泥管生產試驗,專用設備離心機組系統主要設備滿足設計要求,在滿負荷工況下能達到最大轉速的要求,運行穩定,能夠批量生產工程所用的半圓形預應力水泥管。 3.2.2 振動裝置性能 離心機增加振動裝置功能有效,通過荷載試驗、抗滲試驗,能滿足水泥管混凝土強度和密實度的設計標準,水泥管內壁表面光滑度較好,糙率低,達到設計流量要求。 3.2.3 喂料系統功能 能夠達到向模具中間供料,沿模具軸線在模具長度范圍內均勻布料的功能,布料系統運行平穩,滿足離心振動工藝生產水泥管的要求。 3.2.4 模具工況性能 在振動工況下高速運轉可靠,能滿足在長期的動負荷作用下不發生變形,保持模具的同心度及足夠的強度和剛度,同時表光潔,結構合理,拆裝方便,可以作為定型產品。 四、成果應用情況 課題組研制的半圓形水泥管離心振動成型機將振動和離心兩種工藝結合在一起,結構合理、性能穩定;研制出的生產工藝方法先進,便于操作,各項技術指標達到設計要求,能滿足批量生產需要。生產出的半圓形水泥管產品符合設計要求,具有外觀質量好、尺寸偏差小、內壁光滑、強度高、抗滲性能好、架設容易等特點,滿足工程引水要求。 該研究成果填補了國內半圓形水泥管生產領域的空白。達到國際先進水平,有較大的推廣應用價值和廣闊的市場前景。 |
||||||||||||||||||||||||||||||||||||||||||||||||||||||||||||||||||||||||||||||||||||||||||||||||||||||||||||||||||||||||||||||||||||||||||||||||||||||||||||||||||||||||||||||||||||||||||||||||||||||||||||||||||||||||||||||||||||||||||||||||||||||||||||||||||||||



1200-1800×2000水泥管成型
1500-2000×2000懸輥機
300-600×4000水泥管離心成
300-600×2000離心式水泥制
500-1000×3000懸輥式水泥制
300-600×3000離心式水泥制