熱門資訊 / NEWS
- 10-23· 水泥管模具開、合模作業指導
- 12-16· 懸輥機的工作原理及設計制造
- 12-16· 如何確定適用于懸輥機的混凝
- 02-25· 提高水泥電桿產品質量的措施
- 12-16· 水泥井管模具的使用與保養
- 12-16· 重慶建成4300公里排水管網
推薦水泥制管機 / PRODUCTS
您當前位置:山東海煜重工有限公司 > 新聞中心 > 技術資料 >
技術資料
水泥電桿定量分料車的開發與應用
時間:2015-01-11 08:31 來源:qzhaiyu.com 作者:海煜重工 點擊: 次
|
在水泥電桿和管樁生產中,準確控制混凝土喂入量是一個非常重要的環節。喂入量不足導致制品壁厚達不到標準規范,產品就報廢。喂入量過多,造成原材料浪費,增加了生產成本,影響企業的經濟效益。這樣就提出了一個如何來實現定量加料的問題。
我們先來分析一下目前許多企業采用的加料方法。第一種是經驗加料法,完全憑操作人員的經驗和熟練程度控制喂入量,只能做到寧多勿少。這種加料方法實際上不是定量喂料。用這種方法控制生產充其量只能做到減少報廢。 第二種是定量加料法。通過幾種不同的形式來實現定量喂料。 1.利用混凝土攪拌系統的稱量裝置定量拌料,拌一車為一根,或者說是需要用多少就拌多少。 2.拌制好的混凝土先放到一個稱量裝置中,再由稱量裝置定量加料給喂料車,喂料車每次用完。 3.拌制好的混凝土直接加入定量喂料車,定量喂料車的料斗中存放大于一根制品用料量的物料,在計量儀表輸入所需喂料量,達到設定估值后,喂料車自動停止喂料。 ![]() 圖1 1-攪拌機;2-定量分料車;3-分料車軌道;4-喂料車;5-管模架;6-喂料車軌道;
第1種方式在實際操作中存在許多問題。
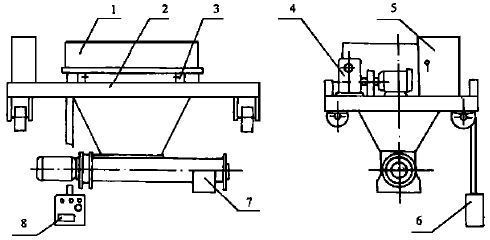
a.由于攪拌機在每天開車前都是沖洗干凈的,因此每天的第一車料都會有一部分混凝土料粘結或填充在攪拌機的死角部位,造成了第一根制品投料量很不準確。 b.一般廠家配備的攪拌機為0.5,0.75,1.0m3規格,而每根制品的用料量在0.15~1.0m3之間。當一車的實際拌料量小于額定拌料量的50%時,所拌混凝土料的均勻性就較差。 c.當前車的拌料量與上車拌料量相差較大時,攪拌機稱量系統的稱量誤差會增大,投料量的計量精度已經不夠準確了。 第2 、3 種方式由于是直接計量喂出的混凝土重量,其準確性只與傳感器及計量儀表有關,可用標準砝碼校驗儀表來得到認證,所以非常可靠。 通過以上分析可以得出,采用定量喂料車不失為準確控制喂料量的好方法。 本文介紹的是第2種方式進行定量喂料控制的典型實例。該定量分料車已經在上海電力線路器材廠應用。 該廠配置了一臺JS-1000混凝土攪拌機和三條電桿喂料生產線,工藝布置見圖1。 工藝流程: 水泥、骨料、水經計量后投入攪拌,攪拌時間99s。拌制好的混凝土卸入定量分料車,定量分料車按預設的量將混凝土輸入電桿喂料車的料斗,電桿喂料車的上部是可以回轉的螺旋輸送機和料斗,定量分料車結構見圖2。 ![]() 圖2 1-料斗;2-車架;3-傳感器;4-行走系統;5-電氣箱;6-操縱盒;7-螺旋輸送機;8-計量儀表;
定量分料車由車架、儲料斗、行走機構、螺旋輸送機、稱量系統等幾個部分組成。定量分料的工作原理是:螺旋輸送機連接在儲料斗的下部,與儲料斗組成一體架放在稱重傳感器上,傳感器靠車架支承。傳感器測得的稱量信號傳遞給計量儀表,計量儀表控制螺旋輸送機。當螺旋輸送機將混凝土料輸出時,料斗中的物料逐漸減少,傳感器上受的力也同時減少。當達到設定值時,計量儀表發出信號,螺旋輸送機停止送料。
按照該廠的生產數據,最大的制品用料量為0.7m3,當料斗內的物料少于0.7m3時,就要再拌制一車混凝土投入料斗。因此,料斗設計有效容積為1.6m3。 計量儀表是稱量系統的大腦和心臟。常用的計量儀表是計算累計加在傳感器上的重量,我們把它稱為加法秤。顯然在這臺分料車上加法秤不符合使用要求。為此我們設計開發了計算傳感器上累計減去的重量的計量儀表,把它稱為減法秤--BH2000A稱量控制儀。 BH2000A稱量控制儀具有預設10個喂料量的功能,以0~9配方號表示。使用者可以將不超過10個常用的喂料量輸入儲存在儀表中,操作時只需選擇對應的配方號,減少了設置稱量值的次數。 BH2000A稱量控制儀還具有暫停、繼續功能,當喂料過程中出現特殊情況時,按暫停按鈕停止喂料。恢復后繼續運行可在暫停時未執行完的基礎上繼續喂完。 定量分料車在上海電力線路器材廠的使用效果,完全達到了設計意圖。 如果把這種稱量控制的形式安裝在喂料車上,變成定量喂料車,就可以組成上面談到的第3種形式的定量喂料工藝。 |
上一篇:離心鋼承口管生產新工藝及制作要點
下一篇:電氣化鐵路預應力混凝土接觸網支柱



300-600×2000離心式水泥制
1200-1800×2000水泥管成型
500-1000×3000懸輥式水泥制
300-600×4000水泥管離心成
1500-2000×2000懸輥機
300-600×3000離心式水泥制
