熱門資訊 / NEWS
- 12-16· 水泥井管模具的使用與保養
- 12-16· 重慶建成4300公里排水管網
- 10-23· 水泥管模具開、合模作業指導
- 12-16· 如何確定適用于懸輥機的混凝
- 02-25· 提高水泥電桿產品質量的措施
- 12-16· 懸輥機的工作原理及設計制造
推薦水泥制管機 / PRODUCTS
您當前位置:山東海煜重工有限公司 > 新聞中心 > 技術資料 >
技術資料
預應力水泥電桿對開式張拉機的設計
時間:2014-12-16 08:11 來源:qzhaiyu.com 作者:海煜重工 點擊: 次
|
對開式張拉器是我廠設計制造的用于分段預應力混凝土電桿生產的專用張拉工具。它裝于120t拉伸千斤頂活塞桿上,與高壓油泵組裝成張拉機,最大工作拉力100t,用于張拉高強鋼絲,操作簡單、效果優異。
1 基本原理 1.1 工藝要求(圖1) ![]() 圖1 鋼板圈簡圖
1-鉚固筋;2-掛筋環;3-鋼板圓圈
根據分段預應力電桿生產工藝程序,要求張拉器伸進鋼板圈掛筋環2內孔(直徑Φ),掛住掛筋環后,實施對高強鋼絲的張拉。很顯然,這就要求張拉工具必須在伸進2內孔后能張開方可滿足工藝要求。 1.2 原理 如圖2,有兩個半徑不同的同心圓,小圓(用O1表示)半徑R1,大圓(O2來表示)半徑R2,兩圓之間面積用陰影表示。 ![]() 圖2 大小圓陰影圖
假想把小圓O1沿Y軸平均分開,然后將分開的兩半圓各自沿X軸向左、向右移動,使B點和A點,C點和D點重合,得到圖3。
![]() 圖3 相交面積圖
圖3陰影部分表示圖2陰影與分開兩半移動后相交面積。我們不難發現EBF和GCH占小圓O1弧長比較大。
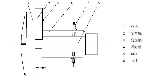
根據這一原理,我們可以將半徑為R3(略小于R1)的圓分成兩半,閉合時伸進圓O1(在實際運用中相當于掛筋環2內孔),張開時拉住掛筋環實施張拉,切實可行。通過計算,假設為Φ400電桿,則張拉弧長占圓O1弧長的76.8%,可達到要求。 2 結構形式 結構簡圖見圖4。 對開式張拉器通過拉桿6上的內螺紋與120t拉伸千斤頂的活塞相連接。工作時,先用手轉動絲杠5,通過導向板4,將力傳遞給受力板2,使兩塊受力板閉合到最小位置,然后開動油泵伸出活塞桿帶動張拉器伸進鋼板圈掛筋環內,再反轉絲杠5,使受力板2張開至最大位置,開動油泵,張拉到規定噸位。在鉚固好鋼板圈以后,開動油泵,使張拉器受力板2與掛筋環脫離,轉動絲杠5,將受力板閉合至最小位置,開動油泵使活塞桿回縮帶動張拉器從鋼板圈內抽出,完成整個張拉過程。 ![]() 圖4 結構簡圖
為避免絲杠5和導向板4受力過大,增強拉盤1,使上面焊有的加強板與受力板一起受力。增加截面面積,避免變形。
3 結語 對開張拉機具有以下特點: 3.1 設計合理,體積小,結構緊湊,充分利用各部件受力,安全可靠。 3.2 結構簡單,便于加工制造、安裝和更換。 3.3 操作使用方便,只需人工張合絲杠使受力板張合實現工作過程。 3.4 成本低廉(與傳統的傘式張拉器相比,成本低60%)。 3.5 維修方便。 3.6 適用不同規格產品的生產。 |
上一篇:如何制作現澆混凝土管?
下一篇:電桿模具的使用、保養與維修



500-1000×3000懸輥式水泥制
300-600×4000水泥管離心成
1500-2000×2000懸輥機
300-600×2000離心式水泥制
300-600×3000離心式水泥制
1200-1800×2000水泥管成型


